Fort McCoy ArtiFACT: B.S. Hawley bedstead patent

Fort McCoy Public Affairs Office
Courtesy Story

Date: 10.24.2024
Posted: 10.24.2024 14:47
News ID: 483882
Fort McCoy ArtiFACT: B.S. Hawley bedstead patent

Archaeologists at Fort McCoy investigate archaeological sites which span thousands of years of history at the installation. When they investigate such sites, they are directed by the National Historic Preservation Act of 1966 to describe how and why the sites being investigated are significant and worth protecting.

There are four categories which can be used to assess site significance:

— An association with a significant event in American history, such as Gettysburg and the battlefields around it and their importance with respect to the Civil War.

— An association with a significant person in American history, such as George Washington or Abraham Lincoln.

— A building which represents significant achievements in architecture, such as the Empire State building in New York City or perhaps a building designed by Frank Lloyd Wright.

— The potential to recover significant data. Most archaeological sites on Fort McCoy lands fall under this site significance category.

When investigating sites which pre-date European contact, the case for preservation most often must be made based on a site’s potential for containing significant data that can help answer important research questions that have not been completely and thoroughly answered yet.

For sites which date to after Europeans arrived in the Americas, there is more documentary evidence such as census, tax, and deed records which help archaeologists and historians paint a more complete picture for archaeological sites, which in turn leads to a larger data set to determine whether a site is significant.

It bears noting that the significance listed above is not restricted to the national level. Things that are significant to local communities can also be considered. For example, a homestead site within Fort McCoy’s cantonment is considered potentially eligible for listing in the National Register of Historic Places (NRHP) because it was the site of the very first town hall meeting for Lafayette Township in the 1800s. With this in mind, archaeological researchers at Fort McCoy spend time looking into the people and places within what is now Fort McCoy lands to determine if an individual or place has a significant story to tell.

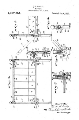
The patent which accompanies this article was applied for by an individual who lived on a homestead within what is now Fort McCoy. This individual, B.S. Hawley, was also an inventor, and his patent is for a design to make it easier to make one’s bed by allowing the footboard of the bedstead to fold over to make it easier to tuck in the sheets. No artifacts recovered from his homestead could be associated with his patent, and the patent was found by doing background research on Hawley via deeds and tax records, as well as genealogical documentation.

The Hawley Farm was an interesting site which included thousands of artifacts and a calf burial, but the integrity of the site was heavily compromised by prior grading activities associated with the development of the Sparta/Fort McCoy airport. The airfield has been in place since the 1940s, and its development pre-dated historic preservation requirements associated with the implementation of the National Historic Preservation Act of 1966. The site was ultimately recommended to be ineligible for listing in the NRHP.

All archaeological work conducted at Fort McCoy was sponsored by the Directorate of Public Works Environmental Division Natural Resources Branch.

Visitors and employees are reminded they should not collect artifacts on Fort McCoy or other government lands and leave the digging to the professionals.

Any individual who excavates, removes, damages, or otherwise alters or defaces any post-contact or pre-contact site, artifact, or object of antiquity on Fort McCoy is in violation of federal law.

The discovery of any archaeological artifact should be reported to the Directorate of Public Works Environmental Division Natural Resources Branch.

Learn more about Fort McCoy online at https://home.army.mil/mccoy, on DVIDS at https://www.dvidshub.net/unit/FMPAO, on Facebook by searching “ftmccoy,” on Flickr at https://www.flickr.com/photos/fortmccoywi, and on X (formerly Twitter) by searching “usagmccoy.”

Also try downloading the My Army Post app to your smartphone and set “Fort McCoy” or another installation as your preferred base. Fort McCoy is also part of Army’s Installation Management Command where “We Are The Army’s Home.”

(Article prepared by the Fort McCoy Archaeology Team.)